招生专栏

招生专栏

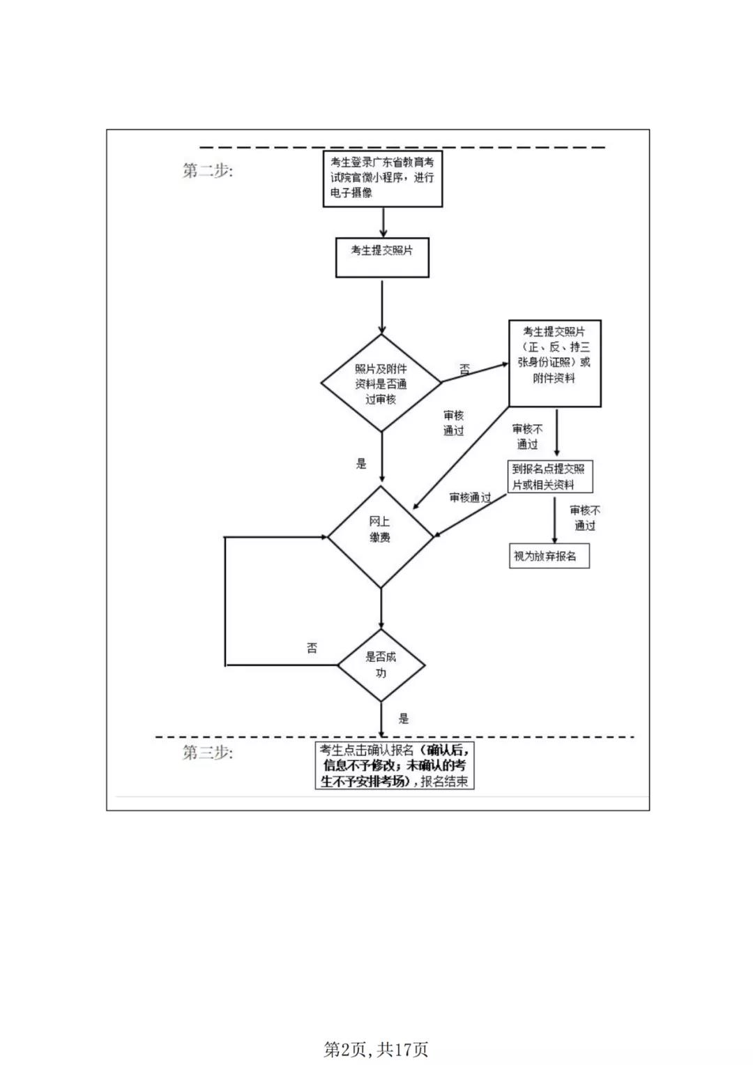
广东省2021年成人高考报名志愿填报流程图

发布日期:2021-09-02    作者:招生办     来源: 广东省教育考试院    编辑:招生办    审核:招生办    点击:

 

招生电话:0759-2382451、13828229228

教务电话:0759-2382061、13763050660

培训电话:0759-2362175、13509935732

联系地址:广东省湛江市湛江高新技术产业开发区海滨大道中

联系邮箱:cjy@gdou.edu.cn

版权所有:中国·365英国上市|官方网站-Best World Cup


学院二维码

Baidu
sogou